The Pinnacle of Suspension Technology -
ForeFront Suspension
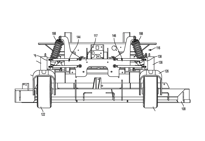
Utilizing automotive-style, independent front axles, coil-over shocks and innovative control arms, ForeFront Suspension is the latest generation of Ferris suspension. When you put it all together, you get a machine that protects and enhances both equipment and operator. Finish your jobs faster, extend your mower's life span, and increase your profits. Suspension changes everything.






